04. tbl. 112. árg. 2026
Fræðigrein
Rannsókn. Háorku brjóst- og lendhryggbrot á Landspítala 2003-2022
High-energy thoracic and lumbar spine fractures at Landspítali 2003-2022 (25 years)
Fyrirspurnum svarar Þorkell Snæbjörnsson, thorsnae@landspitali.is
Greinin barst 23. desember 2025, samþykkt til birtingar 5. mars 2026
Ágrip
Inngangur
Brjóst- og lendhryggurinn er burðarás líkamans, heldur okkur uppi, ver mænu og taugar og leyfir hreyfingu. Meðferð háorkuáverka á hrygg er oft krefjandi og felur í sér mat á stöðugleika áverkans og hvort skurðaðgerð gagnist.
Markmið
Markmið rannsóknarinnar var að kanna faraldsfræði brjóst- og lendhryggsbrota á Landspítala eftir háorkuáverka eingöngu og skoða sérstaklega meðferð og afdrif sjúklingsins með tilliti til AO-áverkakerfis.
Aðferðir
Sjúkragögn voru yfirfarin með tilliti til aldurs, kyns, þjóðernis, legutíma, orsaka, viðbótaráverka, meðferðar, taugaskaða, árstíma og staðsetningar áverka. Myndrannsóknir voru notaðar til greiningar og brot flokkuð eftir AO-áverkakerfi.
Niðurstöður
Alls greindust 424 einstaklingar með 596 brot á rannsóknartímabilinu. Að meðaltali voru 21,2 slys á ári, meðalaldur var 40,3 ár og karlar rúm 62%. Bílslys voru orsök í um 21% tilvika, bílveltur í um 20% og af bílveltum voru rúm 31% erlendir einstaklingar. Flest brot urðu á L1 (um 19% allra brota) og Th12 (rúm 11% allra brota). Einstaklingar með brot í Th12, L1 og Th7 voru í rúmum 20% tilfella með taugaskaða. Alls fóru 36% sjúklinga í aðgerð en 17% til viðbótar fengu ytri stuðning. Aðrir áverkar á líkama voru í rúmum 63% tilvika.
Ályktun
Að jafnaði voru um tvö brjóst- og lendhryggbrot af völdum háorkuáverka meðhöndluð á mánuði á Landspítala á tímabilinu 2003-2022. Dæmigert var brot á Th12 og L1 hjá 40 ára karlmanni. Sjúklingar sem voru án taugaeinkenna höfðu marktækt styttri legutíma. Fjöldi áverka fór lækkandi milli ára, þó án marktækni og gæti sú þróun til að mynda skýrst af bættum öryggisbúnaði bifreiða.
Inngangur
Brjóst- og lendhryggurinn er burðarás líkamans, heldur okkur uppi, ver mænu og taugar og leyfir hreyfingu. Við háorkuóhöpp, svo sem bílslys, verða oft brot sem geta valdið alvarlegum og stundum varanlegum afleiðingum. Meðferð háorkuáverka er oft krefjandi og felur í sér mat á stöðugleika hryggbrota og hvort skurðaðgerð bæti horfur sjúklinga. Brestir í greiningu eða meðferð geta valdið verkjum, aflögun, skekkju og taugaskerðingu sem hefur varanleg áhrif á lífsgæði einstaklings.
Áverkar á hrygg eru flokkaðir í háorku- og lágorkuáverka. Lágorkuáverkar eru algengastir hjá eldri einstaklingum og tengjast yfirleitt undirliggjandi sjúkdómum, svo sem beinþynningu eða krabbameini. Háorkuáverkar eru algengari hjá yngri einstaklingum og eru oftast vegna bílslysa eða falla.
Brjósthryggurinn hefur takmarkaða hreyfigetu og tenging hans við brjóstkassann veitir honum einnig ákveðna vörn gegn áverkum. Í tengingu hans við lendhrygginn, sem er hreyfanlegri, svo kölluðum brjóst-lendhryggjarmótum (Th11-L2), skapast mikið álag við slys sem reynir á stöðugleika hryggsúlunnar.
Ýmis flokkunarkerfi hafa verið þróuð til að flokka brjóst- og lendhryggbrot. Enn ríkir þó ágreiningur um hvaða kerfi er best í notkun.1 Alþjóðlega staðlaflokkunarkerfi kennt við samtökin AO Spine hefur verið notað á Landspítalanum og hér verður það kynnt. AO Spine-flokkunarkerfið byggist á þremur gerðum brota, gerð A, B og C, sem hver og einn skiptist síðan í undirflokka.2 Mynd 1 sýnir AO Spine Thoracolumbar-flokkunarkerfið.

Kerfið metur einnig lömun eða rótaráverka sjúklings. Þetta er táknað með N og er skalað frá N0 til N4.
Auk meginflokkunar tekur kerfið tillit til annarra klínískt mikilvægra þátta. Þessir þættir eru táknaðir með M og kvarðaðir frá M1 til M2.2
Kanadísk rannsókn sýndi að brjóst- og lendhryggbrot eru algengustu hryggbrotin3 og samkvæmt erlendum rannsóknum virðast þau einnig algengustu hryggbrotin af völdum háorkuáverka.4-6 Í safngreiningu (meta-analysis) var algengasti brotastaðurinn í háorkuáverkum L1 (34%) og sjaldgæfasti Th2 (0,3%). Helstu orsakir brota voru bílslys (37%) og föll (32%). Einnig höfðu um 27% þeirra sem voru með brjóst- og lendhryggbrot hlotið mænuáverka.7
Frönsk rannsókn sýndi að algengasta staðsetning hryggbrota vegna áverka hjá börnum var T7/T8 (27%) en næstalgengasta var T12/L1 (17%), flest brotin voru af völdum falls.8
Sænsk rannsókn sýndi að nýgengi allra brjóst- og lendhryggbrota er um 30 á hverja 100.000 íbúa þar sem nýgengi þeirra sem eru 60 ára og yngri um 13 á hverja 100.000 íbúa.
Hérlendis hefur faraldsfræði bjóst- og lendhryggbrota einnig verið rannsökuð og benda niðurstöður til þess að föll og umferðarslys séu algengustu orsakir brota. Í rannsókn Eyrúnar Örnu Kristinsdóttur, sem náði til áranna 2007-2011, voru greind samtals 125 brjósthryggbrot, 179 brot á mótum brjóst- og lendhryggjar og 201 brot á lendar- og spjaldhrygg. Föll voru algengasta orsök þessara brota og næst á eftir komu bílslys.9 Í annarri hérlendri rannsókn, sem Edda Pálsdóttir framkvæmdi, kom fram að á tímabilinu 1995-2012 voru skráð 48 hryggbrot á brjóst- og lendhrygg sem orsakast höfðu af hestaslysum.10
Efniviður og aðferðir
Skilgreiningar og afmörkun þýðis
Rannsóknin var afturskyggn ferilrannsókn þar sem skoðuð voru gögn sjúklinga sem hlutu brjóst- eða lendhryggbrot og leituðu á Landspítalann á tímabilinu 1998–2022. Umsóknir um leyfi fyrir rannsókninni voru sendar út til Vísindarannsóknanefndar heilbrigðisrannsókna (nr16) og Siðanefndar Landspítalans (nr51) og voru samþykktar af báðum aðilum.
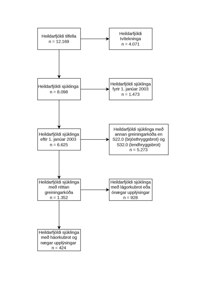
Notaðir voru ICD-10 greiningarkóðar til að finna sjúklingahópinn í rafrænum sjúkraskrám, samtals 12.169 skráningar. Gagnasafnið var síðan hreinsað með því að fjarlægja endurtekningar, aðra ICD-10 kóða og lágorkuáverka, samkvæmt sjúkraskrá. Eftir stóðu 424 kennitölur sem uppfylltu skilyrði um háorkuáverka og höfðu eftirfarandi greiningarkóða: S32.0 (lendhryggbrot) og S22.0 (brjósthryggbrot). Á mynd 2 má sjá hvernig rannsakendur afmörkuðu rannsóknarþýðið.

Skoðaðar voru eftirfarandi breytur: aldur, kyn, íslenskt eða erlent ríkisfang, lengd innlagnar, orsök áverkans, aðrir áverkar, tegund meðferðar, tauga- eða mænuskaði, hvenær áverkinn átti sér stað, fjöldi eftirlita hjá bæklunarlæknum og hvaða hryggjarliður var brotinn.
Niðurstöður myndrannsókna voru skoðaðar í myndgreiningarforritinu Xero, þar sem rannsakandi og sérfræðingur flokkuðu brotin samkvæmt AO-flokkunarkerfinu. Einungis háorkuáverkar voru hafðir með í rannsókninni; ef ekki reyndist unnt að greina milli háorku eða lágorkuáverka út frá sögu eða ef myndrannsóknir vantaði, voru þeir sjúklingar útilokaðir frá rannsókn. Þar sem myndrannsóknir fyrir árið 2003 voru á filmum sem búið var að eyða náði úrtakið yfir tímabilið 2003-2022.
Háorkuáverkar voru skilgreindir samkvæmt viðmiðum landlæknis en orsakir áverkanna voru teknar saman í nánari flokka.11
Niðurstöður og tölfræðivinnsla rannsóknarinnar var framkvæmd í Rstudio-útgáfu 4.4.3.
Niðurstöður
Á árunum 2003–2022 greindust 424 einstaklingar með brjóst- og lendhryggsbrot á Landspítalanum vegna háorkuáverka. Rannsóknarhópurinn sem uppfyllti inntökuskilyrði samanstóð af 264 körlum (62%) og 160 konum (38%). Meðalaldur þátttakenda var 40 ár (staðalfrávik 18 ár; aldursbil 4-87 ára). Það reyndist ekki vera marktækur munur á meðalaldri eftir kyni (p=0,63) (Welch‘s T próf), en meðalaldur karla var 41 ár og meðalaldur kvenna 40 ár. Alls voru 17% með erlent ríkisfang, eða 70 einstaklingar. Ekki reyndist vera marktækur munur á fjölda einstaklinga með erlent ríkisfang á fyrstu fimm árum tímabilsins samanborið við síðustu fimm ár rannsóknartímabilsins (p=0,79) (Welch‘s T próf) og línuleg aðhvarfsgreining sýndi ekki marktæka línulega aukningu eða minnkun í fjölda erlendra einstaklinga yfir tímabilið (p=0,80). Að meðaltali voru 21 áverki á ári á rannsóknartímabilinu en það var þó nokkur breytileiki í fjölda áverka eftir árum, allt frá 9 og upp í 30 áverka árlega. Áverkum fækkaði milli ára milli ára en sú breyting var ekki marktæk (p=0,16) (Poisson regression). Á mynd 3 má sjá myndræna framsetningu fjölda áverka á rannsóknartímabilinu.

Meðallegutími á deildum Landspítalans var 18 dagar og miðgildi legutíma var 6,5 dagar. Það var ekki marktæk fylgni milli legutíma og aldurs (p=0,09)(Spearman). Sjúklingar sem voru án tauga- eða mænuskaða höfðu marktækt styttri legutíma (p<0,05)(Welch T-próf). Þrír einstaklingar létust í kjölfar áverkans á tímabilinu (1%), þar af höfðu tveir brot í lendhrygg. Þessir einstaklingar létust vegna annarra áverka eða afleiðinga.
Karlar voru í meirihluta þeirra sem hlutu brjóst- og lendhryggbrot í öllum aldurshópum nema hjá 81–90 ára, þar sem kynjahlutfallið var jafnt. Flestir þátttakendur í rannsókninni voru á aldrinum 21-30 ára, alls 82 einstaklingar (19% þeirra sem hlutu brjóst- eða lendhryggsbrot). Fæstir voru í aldurshópnum 81–90 ára, alls sex einstaklingar (1% þeirra sem hlutu brjóst- eða lendhryggbrot).
Umferðaróhapp var algengasta orsök brjóst- og lendhrygg-brota á rannsóknartímabilinu og orsakaði brot hjá 227 einstaklingum (54% þátttakenda). Undir yfirflokkinn umferðar-óhöpp, flokkast almenn háorku bílslys, bílvelta, árekstur þar sem einstaklingur kastast út úr ökutæki, mótorhjólaslys, reiðhjólaslys og árekstur á gangandi vegfaranda. Algengustu undirflokkar innan umferðaróhappa voru almenn bílslys (87 tilvik, 38% umferðaróhappa) og bílveltur (85 tilvik, 37% umferðaróhappa). Hlutfall þeirra sem lentu í bílveltu var marktækt hærra hjá ferðamönnum (p<0,05)(Kí-kvaðrat). Föll var næstalgengasti yfirflokkurinn og höfðu 70 einstaklingar hlotið brjóst- eða lendhryggbrot af völdum þeirra (17%). Þessi flokkur samanstóð bæði af vinnuslysum og frístundaslysum. Lægsti meðalaldurinn var í hópi þeirra sem lentu í mótokrossslysum (25 ár; staðalfrávik 11 ár), en elstir voru þeir sem lentu í hestaslysum (48 ár; staðalfrávik 14 ár). Marktækur munur reyndist á aldri eftir orsök brotsins (p<0,05) (Kruskal-Wallis). Þeir sem lentu í mótokrossslysum voru marktækt yngri en þeir sem lentu í bílslysum, hestaslysum, mótorhjólaslysum og vinnuföllum. Einnig var marktækur munur á aldri milli þeirra sem lentu í frjálsu falli og hestaslysi og síðan frjálsu falli og bílslysi. Karlar lentu oftar í öllum tegundum slysa að undanskildum bílslysum og hestaslysum. Hlutfallið var þó nokkuð jafnt í bílveltum (1,07:1). Í umferðaróhöppum í heild sinni voru karlar í meirihluta (1,35:1). Þegar skoðuð var tímasetning umferðaróhappa var marktækur munur á fjölda umferðaróhappa eftir mánuðum (p<0,05) (Kí-kvaðrat). Mest var um slys í ágúst, alls 58 tilvik (14%) og næstmest í júni, alls 55 tilviki (13%). Sérstaklega sást lægri tíðni í janúar og febrúar, 10 tilvik hvorn mánuð (2%)
Þegar skoðuð voru brot hjá börnum (<18 ára) sást að algengasta orsök þeirra voru umferðaróhöpp en þau voru 17 tilfelli (39%), þar á eftir komu frjáls föll en þau voru 12 tilfelli (27%). Þegar skoðuð var staðsetning brota hjá börnum sást að flest brot voru á L3 (8 tilfelli), L1, L2 og Th7 (hver með 6 tilfelli).
Alls greindust 596 brotnir brjóst- og lendhryggjarliðir hjá einstaklingum sem hlutu slík brot á tímabilinu 2003–2022. Flest brotin áttu sér stað í L1 (19%) og Th12 (11%). Hæsta hlutfall tauga- eða mænuskaða var við brot á Th12 (28%), L1 (21%), og Th7 (21%).
Settir voru alls 424 AO-flokkunarkóðar og alvarlegasta brotið skráð hjá hverjum sjúklingi. Það var marktækur munur á legutíma eftir AO-flokkun (p<0,05) (Kruskal-Wallis). C-flokkur var marktækt tengdur lengri legutíma gagnvart öllum A-flokkum (p<0,05).

Mynd 4 sýnir meðallegutíma einstaklinga eftir AO-flokkun.
Marktækur munur var á hlutfalli tauga- eða mænuskaða milli AO-yfirflokka (p<0,05) (Fisher með Monte). Einstaklingar með A-brot voru í 10% tilfella með tauga- eða mænuskaða, B- brot í 28% tilfella og þeir með C-brot í 59% tilfella. Engin í AO- flokkunum B3 og A2 voru með tauga- eða mænuskaða.
Alls fóru 152 einstaklingar í aðgerð vegna brjóst- og lendhryggbrota. Þegar litið er til aðgerða og AO-greiningarflokka var B1 með hæstu tíðni aðgerða en þar fóru 15 af 18 í aðgerð (83%). Einstaklingar með AO-greiningarflokkinn C voru einnig með háa aðgerðartíðni en þar fóru 38 af 49 í aðgerð (78%). Enginn með AO-greiningarflokkinn A0 fór í aðgerð. Það var marktækt jákvætt samband milli AO-stigunar og líkinda á aðgerð (rho=0,642, p<0,05) (Spearman).
Umræður
Nýgengi brjóst- og lendhryggbrota sem meðhöndluð voru á Landspítalanum á árunum 2003–2022 var 6,5 á hverja 100.000 íbúa. Ekki voru tekin með í rannsókninni tilfelli sem leituðu á Sjúkrahúsið á Akureyri og er því líklegt að raunverulegt nýgengi sé vanmetið, þar sem hluti þjóðarinnar leitar aðstoðar á Akureyri vegna háorkuáverka á hrygg. Við útreikninga á nýgengi var stuðst við mannfjöldatölur frá Hagstofu Íslands. Í erlendri samantektarrannsókn, sem einnig tók með lágorkubrot, kom fram að nýgengi brjóst- og lendhryggbrota var um 30 á hverja 100.000 íbúa.12 Nýgengi hálshryggjarbrota af völdum háorkuáverka í rannsókn Ingibjargar Sóleyjar Einarsdóttur var 4,12 á hverja 100.000 íbúa13 og þannig kemur í ljós að brjóst- og lendhryggbrot eru algengari en hálshryggjarbrot, eins og aðrar rannsóknir styðja.4,10
Nýgengi og fjöldi slysa er greinilega mjög lágt árið 2003, það má að hluta skýra af því að gæði myndrannsókna frá því ári voru takmörkuð, rannsakandi gat ekki alltaf staðfest AO-flokkun, tölvusneiðmyndir voru ekki alltaf teknar eða gögnum hafði verið eytt. Ef árið 2003 er undanskilið, lækkar nýgengið marktækt yfir tímabilið 2004 til 2022 (p<0,05)(Línuleg aðhvarfsgreining) en heildarnýgengið hækkar í 6,7 á hverja 100.000 íbúa. Tíðni áverka fer einnig marktækt lækkandi yfir tímabilið (p<0,05)(Poisson regression). Mynd 5 sýnir þróun áverka eftir orsakaflokkum yfir rannsóknartímabilið.

Samkvæmt gögnum Hagstofu Íslands hefur heildarfjöldi umferðarslysa og slasaðra sýnt sveiflukennda og jafnvel vægt hækkandi þróun á tímabilinu 2003-2022.14
Fækkun brjóst- og lendhryggjarbrota á tímabilinu 2003-2022 virðist þó að mestu skýrast af fækkun umferðaróhappa. Þetta mætti skýra með bættum öryggisbúnaði í bílum, þar með talið bílbeltum og loftpúðum, sem dregur úr þessum tegundum af áverkum á bol líkamans.
Nýgengi áverka af völdum hestaslysa var 0,997 á hverja 100.000 íbúa. Í rannsókn Eddu Pálsdóttur frá 2013, þegar nýgengi var umreiknað með tilliti til fjölda brotinna brjóst- og lendhryggjarliða og mannfjöldatalna frá Hagstofu Íslands, var það 0,91 á hverja 100.000 íbúa.10 Rannsóknin um háorku hálshryggjarbrot leiddi í ljós að nýgengi hálshryggjarbrota vegna hestaslysa var 0,32 á hverja 100 þúsund íbúa.13 Þetta mætti skýra að hluta með því að hestaslys líkjast almennum föllum og valdi því frekar áverka á brjóst- og lendhrygg en hálshrygg.15 Þessi ályktun er í samræmi við niðurstöður Eddu.10
Athyglisvert er að ekki var marktæk aukning á brotum eða umferðaróhöppum meðal erlendra ferðamanna á rannsóknartímabilinu þrátt fyrir fjölgun þeirra á Íslandi.16 Tafla I sýnir þróun fjölda ferðamanna á Íslandi.

Þetta má rekja að hluta til forvarna ríkisins, til dæmis hraðatakmarkana eftir banaslys á einbreiðum brúm árið 2018.17 Gera má ráð fyrir að COVID-faraldurinn spili inn í okkar niðurstöður og hefur eflaust skekkt niðurstöðurnar þar sem ferðamönnum sem komu til landsins snarfækkaði á COVID-tímabilinu.18
Karlmenn hlutu oftar brjóst- og lendhryggjarbrot í öllum aldursflokkum að undanskildum 81-90 ára. Þeir voru sömuleiðis í meirihluta í flestum orsakaflokkum nema í almennum bílslysum og hestaslysum. Þetta er í samræmi við erlendar rannsóknir um kynjahlutfall allra brjóst- og lendhryggjar-brota.19,20 Umferðaróhöpp voru algengustu orsök brjóst- og lendhryggjarbrota (54%), bílslys (21%) og bílveltur (20%) voru algengustu undirflokkar þess og samræmist það fyrri saman-tektum.7 Í rannsókn Eyrúnar Örnu um faraldsfræði hryggbrota voru föll (49,5%) og umferðarslys (31,0%) algengustu orsök þessara brota, en þar voru lágorkuáverkar taldir með.9 Marktækur munur var á hlutfalli bílveltu milli Íslendinga og erlendra ferðamanna (p<0,05). Umferðaróhöpp voru færri í byrjun árs en náðu hámarki í ágúst, sem er í samræmi við fjölda slysa eftir mánuðum á Íslandi.21 Annar toppur var í nóvember í okkar rannsókn, sem er í samræmi við alvarleg slys eftir mánuðum en er þó meira áberandi í þessari rannsókn.21 Þess ber að geta að löglegt tímabil fyrir nagladekk hefst 1. nóvember ár hvert. Umferðaróhöpp ferðamanna voru marktækt fleiri í júlí og ágúst samanborið við aðra mánuði, sem gæti skýrst af fleiri erlendum ferðamönnum yfir sumarið.18
Samanburður við rannsókn Ingibjargar um háorku hálshryggjarbrot sýnir að umferðaróhöpp voru algengust í báðum rannsóknum en algengasti undirflokkurinn voru bílveltur hjá Ingibjörgu og almenn bílslys í þessari rannsókn. Föll voru lægra hlutfall orsaka í rannsókn Ingibjargar (8%)13 sem styður að föll valdi frekar brjóst- og lendhryggbrotum, sérstaklega á brjóst- og lendhryggjarmótum.22
Staðsetning brota í brjóst- og lendhrygg var metin út frá öllum brotum einstaklings. Flest brot voru á L1 og fæst á Th2, sem samræmist fyrri samantekt.7 Hjá börnum voru flest brot á L3, svo L1, L2 og Th7. Þetta samræmist að hluta erlendri rannsókn sem sýndi að algengasti brotastaður hjá börnum var T7/T8 og næstalgengasti Th12/L1.8
Í AO-flokkun var aðeins skráð alvarlegasta brotið. A1 var algengast (28%), B3 sjaldgæfast (1%). Niðurstöður voru sambærilegar fyrri safngreiningu nema færri kurlbrot voru skráð (A3 og A4) og fleiri B-brot miðað við staðalfrávik.7
Að hluta til mætti skýra þetta með því hve fáir áverkar voru í rannsókninni og einnig mætti skýra þetta að hluta með ofgreiningu liðbandaáverka í brotum af gerð B. Marktæk fylgni var milli AO-flokka og legutíma, sem gefur til kynna að AO-flokkun sé góð aðferð til að fá mynd af alvarleika brots en mögulega er nákvæmni hennar við að greina milli „aðliggjandi“ flokka ekki fullkomin. Niðurstöður sýna að því alvarlegri sem áverki er samkvæmt AO-flokkun, því líklegra er að sjúklingur fari í aðgerð.
Í erlendri rannsókn, þar sem hryggjarsérfræðingar endurskoðuðu eldri myndrannsóknir 18-65 ára sjúklinga án tauga-skaða og með brot á bilinu Th11–L2, var mælt með skurðaðgerð hjá um 12% þeirra með A0–A2-brot, 51% með kurlbrot (A3-A4) og 97% þeirra sem höfðu B1-, B2- eða C-brot. Raunverulegt aðgerðarhlutfall hjá þeim sjúklingum var þó 60% fyrir A0–A2, 62% fyrir A3–A4 og 70% fyrir B1–B2 og C. Aðgerðarhlutföll og verklagsreglur geta verið mjög mismunandi milli landa og jafnvel sjúkrahúsa. Mætti segja að okkar niðurstöður séu blanda af ráðlögðu aðgerðarhlutfalli og raunverulegu aðgerðarhlutfalli í þeirri rannsókn.23
Af þeim sem fóru ekki í aðgerð fengu 99% með A0 eingöngu verkjalyf, 100% þeirra með B1 fengu ytri stuðning með spelku (3-punkta belti) og um helmingur þeirra með kurlbrot fengu eingöngu ytri stuðning. Athyglisvert er að 50% þeirra með B2-brot fengu eingöngu verkjalyf. Þetta er ekki í samræmi við meðferðarreglum sem áður hefur verið lýst, en hefur verið ákvörðun ábyrgs sérfræðings.24
Marktækt jákvætt samband reyndist milli AO-stigunar og líkinda á tauga- eða mænuskaða (rho=0,39, p<0,05) (Spearman). Enginn í AO-flokkunum B3 eða A2 var með tauga- eða mænuskaða, en þeir flokkar voru sjaldgæfir. Einnig eru A2 -brot einungis óstöðug í fremri hluta hryggbols og því samræmast niðurstöður því.
Niðurstöður okkar eru sambærilegar erlendum rannsóknum. Meirihluti þessara háorkubrota eru stöðug og þarfnast ekki innri festingar. AO-flokkun gefur góða vísbendingu um alvarleika brots og er gagnleg við meðferðarákvörðun og gefur vísbendingu um innlagnartíma.
Lækkun á nýgengi og fjölda slysa á tímabilinu virðist að mestu skýrast af fækkun umferðaróhappa, sem er stærsti einstaki orsakaflokkurinn. Aðrir flokkar sýna minni og óreglulegri sveiflur yfir árin. Einnig er ekki útilokað að heimsfaraldur COVID hafi haft áhrif á tölurnar í lok tímabilsins, þó það virðist ekki vera meginskýringin á heildarlækkuninni.
Rannsóknin er sú fyrsta á Íslandi sem skoðar háorkubrot í brjóst- og lendhrygg og byggir á fyrri rannsókn um háorku hálshryggjarbrot. Hún veitir yfirsýn yfir faraldsfræði þessara brota og styður við notkun AO-flokkunar, sem er ekki formlega tekin upp hér. Myndrannsóknargögn frá því fyrir 2003 voru á filmum sem búið var að eyða og náði því úrtakið yfir tímabilið 2003–2022. Gögn árið 2003 voru einnig markvisst lélegri og í verri gæðum og CT-myndir voru oft ekki til staðar það ár. Því var tæknilega erfitt að staðfesta AO-flokkun þeirra brota nema ef um einföld fleyglaga brot var að ræða. Persónuupplýsingar þeirra einstaklinga sem ekki var hægt að greina í AO-flokka voru ekki teknar með í útreikningum á niðurstöðu. Brotum var oftast ekki lýst með AO-flokkun, heldur þurfti rannsakandi að flokka þau sjálfur með aðstoð sérfræðinga ef þörf var á.
Mikilvægi segulómunar (MRI) í flokkun brjóst- og lendhryggbrota í AO-flokkunarkerfinu hefur verið umdeild, sumar rannsóknir benda á að notkun hennar bæti ekki nákvæmni flokkunar.25 Yfirlitsrannsókn frá 2024 sýndi þó að notkun MRI breytir flokkun til muna, sérstaklega er tilhneiging til að brot sem eru flokkuð af gerð A verði flokkuð í gerð B, sem breytir viðeigandi meðferð.26
Þess ber að geta að sá galli var á rannsókninni að reynsla aðalrannsakanda af að frumgreina brotin í AO-flokkunarkerfi var takmörkuð. Greint hefur verið frá því að nákvæmni kerfisins eykst með aukinni reynslu rannsakanda og líklega átti áhorfandabjögun sér stað.25 Reynt var eftir bestu getu að vanda til verka og leita aðstoðar reyndari sérfræðings ef vafi var á flokkun. Áhugavert væri ef reyndari sérfræðingur myndi endurflokka brotin og meta hversu mikil áhorfandabjögun átti sér stað. Einnig vita rannsakendur ekki hvernig þessum sjúklingum líður eða hvernig þeir upplifðu meðferðina sem þeir fengu.
Mynd 1. Flokkunarkerfi yfir áverka á brjóst-lendhrygg, kennt við alþjóðasamtökin AO Spine (AO Spine Thoracolumbar Injury Classification System).
Mynd 2. Flæðirit sem sýnir afmörkun rannsóknarþýðis.
Mynd 3. Fjöldi áverka sem leituðu á Landspítala 2003-2022.
Mynd 4. Meðallegutími einstaklinga eftir AO-flokkun.
Mynd 5. Þróun áverka eftir orsakaflokkum.
Heimildir
| 1. Lee JY, Vaccaro AR, Lim MR, et al. Thoracolumbar injury classification and severity score: a new paradigm for the treatment of thoracolumbar spine trauma. J Orthop Sci 2005; 10: 671-675. https://doi.org/10.1007/s00776-005-0956-y PMid:16307197 PMCid:PMC2779435 | ||||
| 2. Vaccaro AR, Oner C, Kepler CK, et al. AOSpine thoracolumbar spine injury classification system: fracture description, neurological status, and key modifiers. Spine (Phila Pa 1976) 2013; 38: 2028-2037. https://doi.org/10.1097/BRS.0b013e3182a8a381 PMid:23970107 | ||||
| 3. Hu R, Mustard CA, Burns C. Epidemiology of incident spinal fracture in a complete population. Spine (Phila Pa 1976) 1996; 21: 492-499. https://doi.org/10.1097/00007632-199602150-00016 PMid:8658254 | ||||
| 4. Camacho Castillejos M, Rosas L, Valenzuela Romero R, et al. Frequency of vertebral fractures in high-energy Trauma. Coluna/ Columna 2018; 17: 147-150. https://doi.org/10.1590/s1808-185120181702189443 | ||||
| 5. Wood KB, Li W, Lebl DS, et al. Management of thoracolumbar spine fractures. The Spine Journal 2014; 14: 145-164. https://doi.org/10.1016/j.spinee.2012.10.041 PMid:24332321 | ||||
| 6. Wang H, Zhang Y, Xiang Q, et al. Epidemiology of traumatic spinal fractures: experience from medical university-affiliated hospitals in Chongqing, China, 2001-2010. J Neurosurg Spine 2012; 17: 459-468. https://doi.org/10.3171/2012.8.SPINE111003 PMid:22978439 | ||||
| 7. Katsuura Y, Osborn JM, Cason GW. The epidemiology of thoracolumbar trauma: A meta-analysis. J Orthop 2016; 13: 383-388. https://doi.org/10.1016/j.jor.2016.06.019 PMid:27504058 PMCid:PMC4963326 | ||||
| 8. Saul D, Dresing K. Epidemiology of vertebral fractures in pediatric and adolescent patients. Pediatr Rep 2018; 10: 7232. https://doi.org/10.4081/pr.2018.7232 PMid:29721244 PMCid:PMC5907726 | ||||
| 9. Kristinsdóttir EA. Faraldsfræði hryggbrota með og án mænuskaða á Landspítala á árunum 2007-2008. Háskóli Íslands, Reykjavík, 2014. | ||||
| 10. Pálsdóttir E. Alvarlegir hryggáverkar vegna hestaslysa og mögulegar forvarnir. Háskóli Íslands, Reykjavík, 2013. | ||||
| 11. Embætti landlæknis. Vinnuferlar landlæknis fyrir sjúkraflutningsmenn. | ||||
| 12. Zileli M, Sharif S. Fornari M. Incidence and Epidemiology of Thoracolumbar Spine Fractures: WFNS Spine Committee Recommendations. Neurospine 2021; 18: 704-712. https://doi.org/10.14245/ns.2142418.209 PMid:35000323 PMCid:PMC8752702 | ||||
| 13. Einarsdóttir IS. Hálshryggjarbrot eftir háorkuáverka á Landspítala 1998-2022. Háskóli Íslands, 2024. | ||||
| 14. Hagstofa Íslands. Umferðarslys 1966-2023. https://px.hagstofa.is/pxen/pxweb/en/Umhverfi/Umhverfi__5_samgongur__3_okutaekiogvegir__1_okutaeki/SAM03201.px/ - ágúst 2025. | ||||
| 15. Gnanaprakash G, Peddireddy S, Kanna RM, et al. Spinal Injuries Due to Falls from Height. Indian Spine Journal 2024; 7: 168-174. https://doi.org/10.4103/isj.isj_75_23 | ||||
| 16. Ferðamálastofa. Heildarfjöldi erlendra farþega. 2025. https://www.ferdamalastofa.is/is/gogn/fjoldi-ferdamanna/heildarfjoldi-erlendra-ferdamanna - desember 2025. | ||||
| 17. Forum IT. Iceland - Road Safety Annual Report 2020. 2020. Paris. https://www.itf-oecd.org/sites/default/files/iceland-road-safety.pdf - apríl 2025. | ||||
| 18. Hagstofa Íslands. Farþegar. 2025. https://hagstofa.is/talnaefni/atvinnuvegir/ferdathjonusta/farthegar/- apríl 2025 | ||||
| 19. Jansson KA, Blomqvist P, Svedmark P, et al. Thoracolumbar vertebral fractures in Sweden: an analysis of 13,496 patients admitted to hospital. Eur J Epidemiol 2010; 25: 431-437. https://doi.org/10.1007/s10654-010-9461-5 PMid:20449637 PMCid:PMC2896644 | ||||
| 20. Almigdad A, Alazaydeh S, Mustafa MB, et al. Thoracolumbar spine fracture patterns, etiologies, and treatment modalities in Jordan. J Trauma Inj 2023; 36: 98-104. https://doi.org/10.20408/jti.2022.0068 PMid:39380694 PMCid:PMC11309452 | ||||
| 21. Samgöngustofa (2024). Skýrsla um umferðarslys á Íslandi árið 2023. https://downloads.ctfassets.net/8k0h54kbe6bj/7c1JAha43PxtYkYUuc2t9r/70bd510dc18e6e67f264c681d3fa903f/Slysaskyrsla2023.pdf - apríl 2025. | ||||
| 22. David J. Dandy DJE. Essential Orthopaedics and Trauma. 4 ed. Churchill Livingstone, Elsevier, 2003. | ||||
| 23. Kweh BTS, Tee JW, Dandurand C, et al. The AO Spine Thoracolumbar Injury Classification System and Treatment Algorithm in Decision Making for Thoracolumbar Burst Fractures Without Neurologic Deficit. Global Spine J 2024; 14: 32s-40s. https://doi.org/10.1177/21925682231195764 PMid:38324601 PMCid:PMC10867534 | ||||
| 24. Vaccaro AR, Schroeder GD, Kepler CK, et al. The surgical algorithm for the AOSpine thoracolumbar spine injury classification system. European Spine Journal 2016; 25: 1087-1094. https://doi.org/10.1007/s00586-015-3982-2 https://doi.org/10.1007/s00586-015-3831-3 | ||||
| 25. Pidd KT, Sadauskas D, Tomatis V, et al. Which is the Superior Thoracolumbar Injury Classification Tool? TLICS Versus AOSpine 2013: A Systematic Review. Global Spine J 2024 ;15(4):2536-2546. https://doi.org/10.1177/21925682241311303 PMid:39722528 PMCid:PMC11670229 | ||||
| 26. Aly MM, Soliman Y, Elemam RA, et al. How frequently MRI modifies thoracolumbar fractures' classification or decision-making? A systematic review and meta-analysis. Eur Spine J 2024; 33: 1540-1549. 20240212. https://doi.org/10.1007/s00586-023-08087-4 PMid:38342842 | ||||
